Этал

ПМЛ-6100,ПМЛ-6101,ПМЛ-6103,ПМЛ-6102,ПМЛ-6104.

Фото: 

Изделие: ПМЛ-6100,ПМЛ-6101,ПМЛ-6103,ПМЛ-6102,ПМЛ-6104.

Модель: ПМЛ-6100

Контакторы нереверсивные без оболочки, без теплового реле, со степенью защиты IP00, c переменным током цепи управления. Можно увеличивать количество дополнительных контактов, используя приставки ВКЛ.

Также возможны варианты исполнений серии:

ПМЛ-6101 с 2-мя размыкающими + 2замыкающими вспомогательными контактами.

ПМЛ-6103 с 1-м размыкающим + 3-мя замыкающими вспомогательными контактами.

Характеристики(фото): 

ПМЛ-6110,ПМЛ-6111,ПМЛ-6113,ПМЛ-6112,ПМЛ-6114

Фото: 

 

Контакторы нереверсивные в оболочке, без теплового реле, со степенью защиты IP00, c переменным током цепи управления. Можно увеличивать количество дополнительных контактов, используя приставки ВКЛ.

Также возможны варианты исполнений серии:

ПМЛ-6111 с 2-мя размыкающими + 2замыкающими вспомогательными контактами.

ПМЛ-6113 с 1-м размыкающим + 3-мя замыкающими вспомогательными контактами.

ПМЛ-6112 с 3-мя размыкающим + 3-мя замыкающими вспомогательными контактами.

ПМЛ-6114 с 1-м размыкающим + 5 замыкающими вспом. контактами.

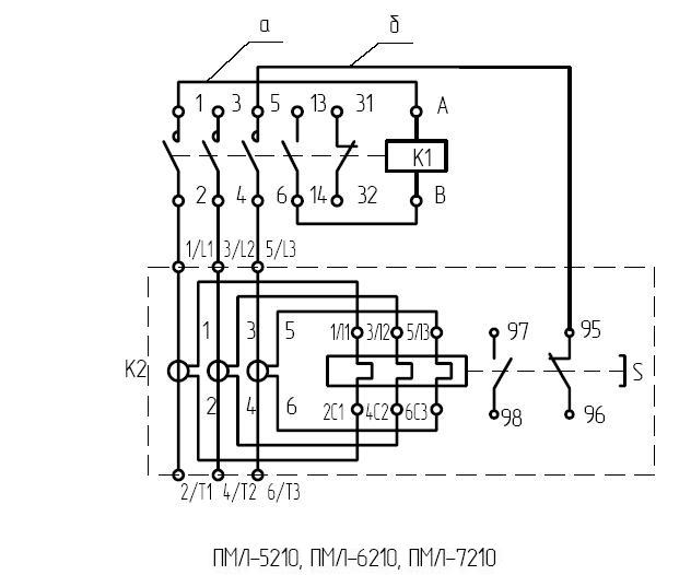
ПМЛ-6210, ПМЛ-6211, ПМЛ-6213, ПМЛ-6212, ПМЛ-6214.

Фото: 

Изделие: ПМЛ-6210, ПМЛ-6211, ПМЛ-6213, ПМЛ-6212, ПМЛ-6214.

Модель: ПМЛ-6210

Пускатели нереверсивные в металлической оболочке, с тепловым реле, со степенью защиты IP54, c переменным током цепи управления,  с кнопками реле. Можно увеличивать количество дополнительных контактов, используя приставки ВКЛ.

Также возможны варианты исполнений серии:

ПМЛ-6211 с 2-мя размыкающими + 2-мя замыкающими вспомогательными контактами.

ПМЛ-6213 с 1-м размыкающим + 3-мя замыкающими вспомогательными контактами.

Характеристики(фото): 

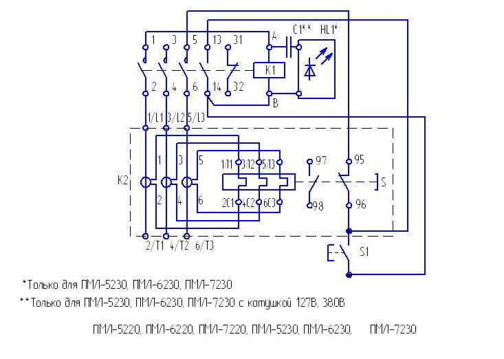
ПМЛ-6220, ПМЛ-6221, ПМЛ-6222, ПМЛ-6223, ПМЛ-6224, ПМЛ-6230, ПМЛ-6231, ПМЛ-6232, ПМЛ-6233, ПМЛ-6234.

Фото: 

ПМЛ-6223 с 1-м размыкающим + 3-мя замыкающими вспомогательными контактами  кнопками «Пуск» и «Стоп»

ПМЛ-6222  с 3-мя размыкающим + 3-мя замыкающими вспомогательными контактами кнопками «Пуск» и «Стоп»

 ПМЛ-6224  с 1-м размыкающим + 5 замыкающими вспомогательными контактами  кнопками «Пуск» и «Стоп»

ПМЛ-6230 с 1-м размыкающим + 1-м замыкающим вспомогательными контактами кнопками «Пуск» и «Стоп» и  сигнальной лампой

Характеристики(фото): 

ПМЛ-6500, ПМЛ-6501, ПМЛ-6503, ПМЛ-6502, ПМЛ-6504

Фото: 

Изделие: ПМЛ-6510, ПМЛ-6511, ПМЛ-6513, ПМЛ-6512, ПМЛ-6514.

Изделие: ПМЛ-6500, ПМЛ-6501, ПМЛ-6503, ПМЛ-6502, ПМЛ-6504

Модель: ПМЛ-6500

Контакторы реверсивные без оболочки, без теплового реле, со степенью защиты IP00, c переменным током цепи управления. Можно увеличивать количество дополнительных контактов, используя приставки ВКЛ. 

Также возможны варианты исполнений серии:

ПМЛ-6501 с 2-мя размыкающими +2-мя замыкающими вспомогательными контактами.

ПМЛ-6503 с 4-мя замыкающими вспомогательными контактами.

ПМЛ-6510, ПМЛ-6511, ПМЛ-6513, ПМЛ-6512, ПМЛ-6514.

Фото: 

Модель: ПМЛ-6510

Контакторы реверсивные в металлической оболочке, без теплового реле, со степенью защиты IP54, c переменным током цепи управления. Можно увеличивать количество дополнительных контактов, используя приставки ВКЛ.

Также возможны варианты исполнений серии:

ПМЛ-6511 с 2-мя размыкающими +2-мя замыкающими вспомогательными контактами.

ПМЛ-6513 с 4-мя замыкающими вспомогательными контактами.

ПМЛ-6512 с 4-мя размыкающим + 4-мя замыкающими вспомогательными контактами.

ПМЛ-6514 с 8 замыкающими вспом. контактами.

Характеристики(фото): 

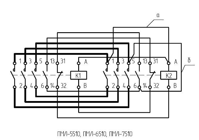
ПМЛ-6610, ПМЛ-6611, ПМЛ-6613, ПМЛ-6612, ПМЛ-6614.

Фото: 

Изделие: ПМЛ-6620, ПМЛ-6621, ПМЛ-6623, ПМЛ-6622, ПМЛ-6624

Модель: ПМЛ-6620
Изделие: ПМЛ-6610, ПМЛ-6611, ПМЛ-6613, ПМЛ-6612, ПМЛ-6614.

Модель: ПМЛ-6610

Пускатели реверсивные в металлической оболочке, с тепловым реле, со степенью защиты IP54, c переменным током цепи управления, с кнопками реле. Можно увеличивать количество дополнительных контактов, используя приставки ВКЛ.

Также возможны варианты исполнений серии:

ПМЛ-6611 с 2-мя размыкающими +3 замыкающими вспомогательными контактами.

Характеристики(фото): 

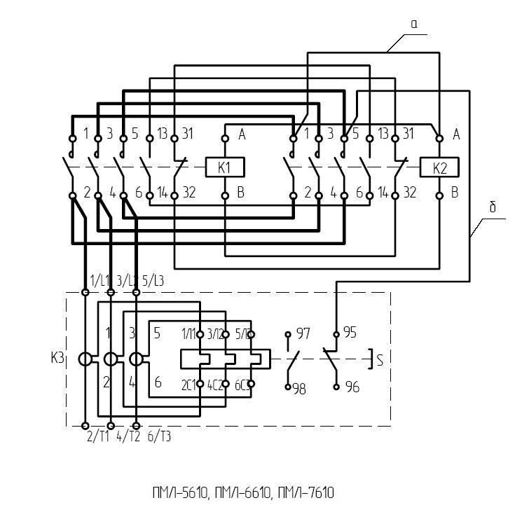
ПМЛ-6620, ПМЛ-6621, ПМЛ-6623, ПМЛ-6622, ПМЛ-6624

Фото: 

 

Пускатели реверсивные в металлической оболочке, с тепловым реле, со степенью защиты IP54 и кнопками "Пуск" и "стоп", c переменным током цепи управления, с кнопками реле. Можно увеличивать количество дополнительных контактов, используя приставки ВКЛ. 

Также возможны варианты исполнений серии:

ПМЛ-6621 с 2-мя размыкающими +3 замыкающими вспомогательными контактами.

ПМЛ-6623 с 5-ю замыкающими вспомогательными контактами.

ПМЛ-6622 с 4-мя размыкающим + 5-ю замыкающими вспомогательными контактами.

ПМЛ-6630, ПМЛ-6631, ПМЛ-6633, ПМЛ-6632, ПМЛ-6634

Фото: 

Изделие: ПМЛ-6630, ПМЛ-6631, ПМЛ-6633, ПМЛ-6632, ПМЛ-6634

Модель: ПМЛ-6630

Пускатели реверсивные в металлической оболочке, с тепловым реле, со степенью защиты IP54, с кнопками "Пуск", "Стоп" и сигнальной лампой, c переменным током цепи управления. Можно увеличивать количество дополнительных контактов, используя приставки ВКЛ. 
Также возможны варианты исполнений серии:

ПМЛ-6631 с 2-мя размыкающими +3 замыкающими вспомогательными контактами.

ПМЛ-6633 с 5-ю замыкающими вспомогательными контактами.

ПМЛ-5100, ПМЛ-5101, ПМЛ-5103, ПМЛ-5102, ПМЛ-5104

Фото: 

Изделие: ПМЛ-5100, ПМЛ-5101, ПМЛ-5103, ПМЛ-5102, ПМЛ-5104

Модель: ПМЛ-5100

Контакторы нереверсивные без оболочки, без теплового реле, со степенью защиты IP00, c переменным током цепи управления. Можно увеличивать количество дополнительных контактов, используя приставки ВКЛ.

Также возможны варианты исполнений серии:

ПМЛ-5101 с 2-мя размыкающими + 2замыкающими вспомогательными контактами.

ПМЛ-5103 с 1-м размыкающим + 3-мя замыкающими вспомогательными контактами.

Характеристики(фото): 

Наш інтернет-магазин

Интернет-магазин

ПП Тренінг

Продукция

Услуги

  • Монтаж, обслуживание приборов КИПиА, устройств автоматизации производственных процессов.
  • Ремонт электро-, радиоизмерительных приборов, КИПиА.
  • Услуги электроизмерительной лаборатории.

Наши партнеры