- Монтаж, обслуживание приборов КИПиА, устройств автоматизации производственных процессов.
- Ремонт электро-, радиоизмерительных приборов, КИПиА.
- Услуги электроизмерительной лаборатории.
моб. (093)-878-98-30 тел. (0332)788-092, 788-993
Назначение и технические данные
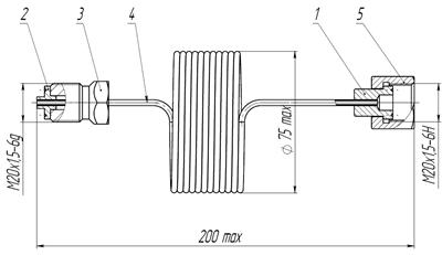
Рукав соединительный, модель 55004, применяется при измерении давления сред с температурой, выходящей за пределы рабочего диапазона температуры измерительного устройства. Для создания нормальных температурных условий соединение мембранного разделителя с измерительным прибором должно осуществляться либо через соединительный рукав, либо через подводящую трубку, которая устанавливается потребителем между точкой отбора давления и разделителем.
Разделители мембранные предназначены для предохранения внутренней полости чувствительных элементов измерительных устройств от попадания в нее сред. агрессивных, горячих, кристаллизующихся, несущих взвешенные твердые частицы.
Соединение разделителя с измерительным устройством осуществляется непосредственно или через соединительный рукав, поставляемый по требованию заказчика.
Технический характеристики:
Верхний предел измерения прибора, комплектуемого разделителем, МПа, (кгс/см2):
для мод. 5319, 5320, 5497 - 0,0,25-2,5 (0,25-25)
для мод. 5321, мод. 5322: 4-60 (40-600)
Разделители мембранные предназначены для предотвращения попадания внутрь чувствительного элемента манометра измеряемой среды.
Технические характеристики:
Верхние пределы измерений приборов, устанавливаемых в комплекте с разделителем: 0,025...2,5МПа
Диаметр корпуса: 95мм
Материал диафрагмы: сталь SS 316
Материал корпуса: сталь SS 304
Присоединительный размер: М20х1,5 (база).
Рабочая температура от -30 до 60 °С;
Масса разделителя, не более: 2,5кг
г. Луцк ул. Ровенская 76-а офис 102 (Луцкпластмас)
моб. (093)-878-98-30 тел. (0332)788-092, 788-993






